Ввод высоковольтный для масляных выключателей с RIP изоляцией ВК-35
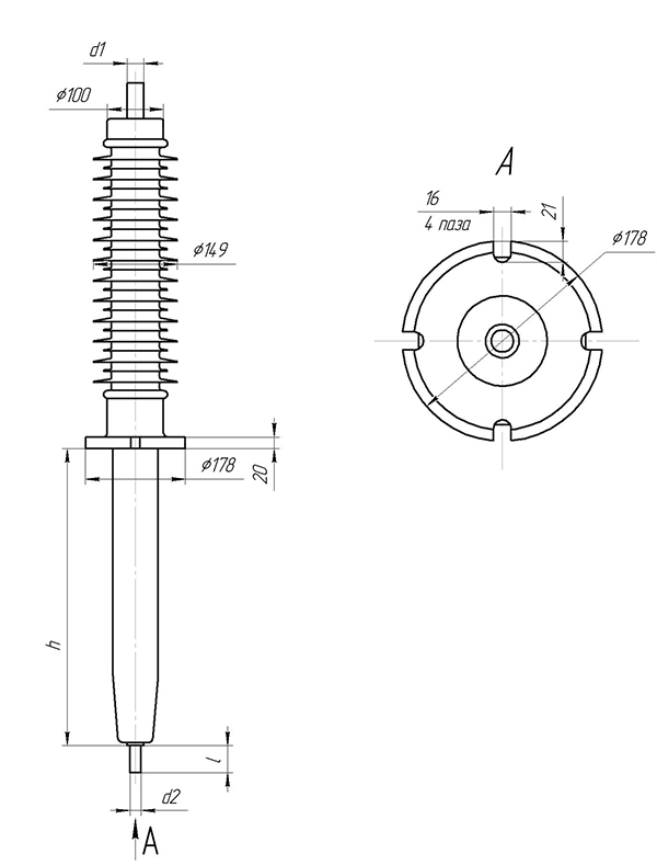
Високовольтні вводи ВК-35 є вводами для бакових вимикачів на 35 кВ (С-35, ВВС-35, ВТ-35, ВМ-35, МКП-35, ВБЄТ-35) та призначені для заміни як оригінальних вводів, що постачаються заводами-виробниками вимикачів, так і вводів наступних типів: ГТВ, ГТПВ, ВПФ-35, ВКП-35, ВЛ-35, ВВФ-35 тощо. Виготовляються на номінальні струми 630–1600 А.

Тип выключателя |
Тип ввода |
h, мм* |
L, мм* |
d1* |
d2* |
С-35/ВВС-35 |
ВК-35 |
527 |
47 |
М22х1,5 |
Ø21 |
ВТ-35 |
ВК-35-01 |
511 |
55 |
М22х1,5 |
Ø21 |
ВМ-35 |
ВК-35-02 |
527 |
82 |
М22х1,5 |
Ø21 |
ВТ-35 |
ВК-35-03 |
511 |
55 |
М22х1,5 |
М20х1,5 |
МКП-35 |
ВК-35-04 |
527 |
73 |
М22х1,5 |
Ø21 |
МКП-35 |
ВК-35-05 |
527 |
73 |
М27х1,5 |
М27х1,5 |
ВТ-35 |
ВК-35-06 |
511 |
55 |
М27х1,5 |
М24х1,5 |
ВВС-35 |
ВК-35-07 |
527 |
47 |
М27х1,5 |
Ø21 |
ВБЄТ-35 |
ВК-35-08 |
527 |
47 |
М22х1,5 |
М22х1,5 |
ВБЄТ-35 |
ВК-35-09 |
527 |
47 |
М27х1,5 |
М22х1,5 |
*Розміри можуть змінюватися за погодженням із замовником
Электрические характеристики
Наименование параметра |
ВК-35 |
1 Номинальное напряжение, кВ |
10 |
2 Номинальный ток, А |
630-1600 |
3 Разрушающая механическая сила при изгибе, кН, не менее |
8 |
4 Импульсное напряжение, кВ |
190 |
5 Выдерживаемое напряжение промышленной частоты, кВ, не менее: |
95 |
6 Выдерживаемое напряжение промышленной частоты в загрязненном и увлажненном состоянии при удельной поверхностной проводности слоя загрязнения (45±5,0) мкСм, кВ, не менее |
45 |
7 Тангенс угла диэлектрических потерь, не более |
0,005 |
8 Длинна пути утечки, мм, не менее |
1500 |
Купити литий високовольтний ввод ВК-35 для бакових вимикачів на 35 кВ (С-35, ВТ-35, ВМ-35, МКП-35), високовольтні вводи для масляних вимикачів 35 кВ конденсаторного типу з RIP-ізоляцією Ви можете, зв’язавшись з нами будь-яким зручним для Вас способом..