Обмежувачі перенапруг (розрядники) ОПН-П-0,22 кВ, ОПН-П-0,38 кВ, ОПН-П-0,4 кВ, ОПН-П-3 кВ, ОПН-П-6 кВ, ОПН-П-10 кВ, ОПН-П-15 кВ, ОПН-П-20 кВ, ОПН-П-35 кВ, ОПН-П-110 кВ, ОПН-П-150 кВ, ОПН-П-220 кВ, ОПН-П-330 кВ — купити в Україні
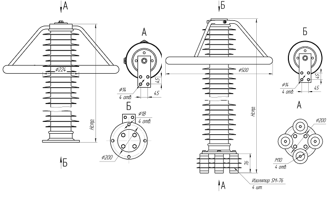
Обмежувач перенапруг ОПН 220 кВ
(ОПНп-220, ОПН-220, ОПН 220 кВ, розрядник 220 кВ) для мереж змінного струму

Технические характеристики
Наименование характеристики |
Ед. Изм. |
Норма для ограничителя |
||||||||
ОПН-П-220/125/ 10/850 |
ОПН-П-220/А/ 10/850 |
ОПН-П-220/192/ 10/850 |
ОПН-П-220/125/ 10/1200 |
ОПН-П-220/А/ 10/1200 |
ОПН-П-220/192/ 10/1200 |
ОПН-П-220/125/ 20/1600 |
ОПН-П-220/А/ 20/1600 |
ОПН-П-220/192/ 20/1600 |
||
1 Клас напруги мережі |
кВ |
110 |
||||||||
2 Найбільша тривало допустима робоча напруга UНР |
кВ |
125 |
А |
192 |
125 |
А |
192 |
125 |
А |
192 |
3 Номінальна напруга обмежувача |
кВ |
156,3 |
1,25А |
240 |
156,3 |
1,25А |
240 |
156,3 |
1,25А |
240 |
4 Номінальний розрядний струм з формою хвилі 8/20 мкс (амплітудне значення) |
А |
10000 |
||||||||
5 Імпульс великого витримуваного струму 4/10 мкс |
кА |
100 |
||||||||
6 Пропускна спроможність обмежувача |
А |
850 |
1200 |
1600 |
||||||
7 Залишкова напруга при дії номінального розрядного струму з формою хвилі 8/20 мкс з амплітудою, не більше: |
кВ |
345 |
Х1 |
530 |
338 |
Х1 |
518 |
338 |
Х1 |
518 |
8 Залишкова напруга при струмі комутаційних перенапружень на хвилі 30/60 мкс з амплітудою, не більше: |
кВ |
285 |
Х2 |
438 |
293 |
Х2 |
449 |
293 |
Х2 |
449 |
9 Залишкова напруга при імпульсі струму з крутим фронтом 1/10 мкс з амплітудою 10000 А, не більше: |
кВ |
425 |
Х3 |
653 |
413 |
Х3 |
634 |
413 |
Х3 |
634 |
10 Класифікаційна напруга обмежувача при активній складовій змінного струму 1 мАампл. (діюче значення), не менше |
кВ |
150 |
Х4 |
230 |
150 |
Х4 |
230 |
150 |
Х4 |
230 |
11 Удільна енергоємність обмежувача, не менше |
кДж/кВ |
8,4 |
11,0 |
13,0 |
||||||
12 Клас розряда лінії |
|
3 |
4 |
5 |
||||||
12 Маса обмежувача, не більше |
кг |
150 |
||||||||
Примечание |
||||||||||
Варианты обозначения: ОПН-п-220/146/10/850-III-УХЛ1, ОПН-п-220/156/10/850-III-УХЛ1, ОПН-п-220/176/10/850-III-УХЛ1, ОПН-п-220/146/20/1500-II-УХЛ1, ОПН-п-220/156/20/1500-II-УХЛ1, ОПН-п-220/176/20/1500-II-УХЛ1, ОПНп220/146/10/850IIIУХЛ1, ОПНп220/156/10/850IIIУХЛ1, ОПНп220/176/10/850IIIУХЛ1, ОПНп220/146/20/1500IIУХЛ1, ОПНп220/156/20/1500IIУХЛ1, ОПНп220/176/20/1500IIУХЛ1, ОПН220, ОПНп220 |
||||||||||
Купить ОПН в Украине по ценам завода-производителя Вы можете, связавшись с нами любым удобным для Вас способом. Распространенные типы ОПНп всегда в наличии на складе. Доставка по Украине осуществляется любым удобным для Вас перевозчиком. Цена ОПН ОПН-П зависит от его электрических характеристик и комплектации.
Контакты
Телефон/Viber/WatsApp: +38(050) 761-20-09
Email: slavsep@gmail.com
Website: www.sep.ho.ua
м.Київ, Україна